|
微波射频仿真设计 |
|
| 首页 >> Ansoft Designer >> Ansoft Designer在线帮助文档 |
|
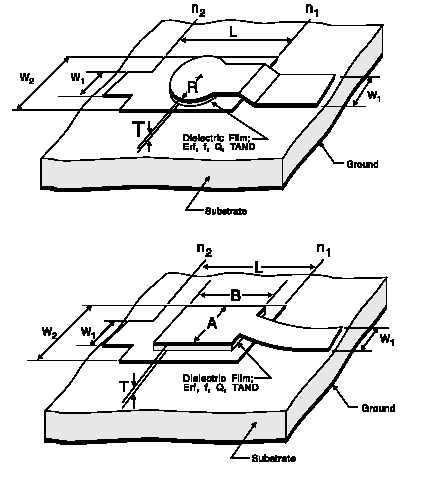
Nexxim Simulator > MIM Rectangular Capacitor, C and Loss Specified
![]()
![]() Netlist FormAxxxx n1 n2 W1=val W2=val L=val C=val TAND=val COMPONENT=msmimct SUBSTRATE=substrate_name n1 and n2 are the names of the nodes attached to the capacitor. The entry COMPONENT=msmimct identifies the element as a MIM rectangular capacitor, capacitance and loss specified, microstrip substrate. The entry SUBSTRATE=substrate_name identifies the microstrip substrate model name selected for the design (see Selecting a Microstrip Substrate). See the Microstrip (MS) Substrate for information on this substrate type.
Netlist ExampleA23 Port1 Port2 W1=0.5e-3 W2=0.5e-3 L=1.1e-3 C=1.8e-12 TAND=1.4 COMPONENT=msmimct SUBSTRATE=FR4 where FR4, the selected layout technology or substrate type, has a definition such as: .SUB FR4 MS( H=7.6200e-004 Er=4.4 TAND=0.02 TANM=0 HFSS视频教程 ADS视频教程 CST视频教程 Ansoft Designer 中文教程 |
|
Copyright © 2006 - 2013 微波EDA网, All Rights Reserved 业务联系:mweda@163.com |
|