淘宝官方店     推荐课程     在线工具     联系方式     关于我们  
 
 

微波射频仿真设计   Ansoft Designer 中文培训教程   |   HFSS视频培训教程套装

 

Agilent ADS 视频培训教程   |   CST微波工作室视频教程   |   AWR Microwave Office

          首页 >> Ansoft Designer >> Ansoft Designer在线帮助文档


Ansoft Designer / Ansys Designer 在线帮助文档:


Nexxim Simulator >
Nexxim Component Models >
Microstrip Elements >
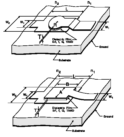
   MIM Rectangular Capacitor, C and Q Specified       

MIM Rectangular Capacitor, C and Q Specified

 

[spacer]

 

[spacer]

Netlist Form

Axxxx n1 n2 W1=val W2=val L=val C=val ER=val Q=val COMPONENT=msmimcq SUBSTRATE=substrate_name

n1 and n2 are the names of the nodes attached to the capacitor. The entry COMPONENT=msmimcq identifies the element as a MIM rectangular capacitor, C and Q specified, microstrip substrate.

The entry SUBSTRATE=substrate_name identifies the microstrip substrate model name selected for the design (see Selecting a Microstrip Substrate). See the Microstrip (MS) Substrate for information on this substrate type.

 


MIM Rectangular Capacitor, Loss Specified Instance Parameters

Parameter

Description

Unit

Default

W1

Width of MS feeder line

Meter

1e-3

W

Width of bottom plate

Meter

1e-3

L

Length of bottom plate

Meter

1e-3

C

Capacitance of MIM

Farad

1e-12

Q

Quality factorof the thin film

None

1e20


 

Netlist Example

A23 Port1 Port2 W1=0.5e-3 W2=0.5e-3 L=1.1e-3 C=0.8e-4 Q=1e20 COMPONENT=msmimcq SUBSTRATE=FR4

where FR4, the selected layout technology or substrate type, has a definition such as:

.SUB FR4 MS( H=7.6200e-004 Er=4.4 TAND=0.02 TANM=0
+ MSat=0 MRem=0 HU=0.00508 MET1=1.72413793103448
+ T1=1.7145e-005 RGH=0mil)




HFSS视频教学培训教程 ADS2011视频培训教程 CST微波工作室教程 Ansoft Designer 教程

                HFSS视频教程                                      ADS视频教程                               CST视频教程                           Ansoft Designer 中文教程


 

      Copyright © 2006 - 2013   微波EDA网, All Rights Reserved    业务联系:mweda@163.com