淘宝官方店     推荐课程     在线工具     联系方式     关于我们  
 
 

微波射频仿真设计   Ansoft Designer 中文培训教程   |   HFSS视频培训教程套装

 

Agilent ADS 视频培训教程   |   CST微波工作室视频教程   |   AWR Microwave Office

          首页 >> Ansoft Designer >> Ansoft Designer在线帮助文档


Ansoft Designer / Ansys Designer 在线帮助文档:


Nexxim Simulator >
Nexxim Component Models >
Microstrip Elements >
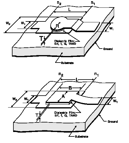
   MIM Rectangular Capacitor, C and Loss Specified       

MIM Rectangular Capacitor, C and Loss Specified

 

[spacer]

 

[spacer]

Netlist Form

Axxxx n1 n2 W1=val W2=val L=val C=val TAND=val COMPONENT=msmimct SUBSTRATE=substrate_name

n1 and n2 are the names of the nodes attached to the capacitor. The entry COMPONENT=msmimct identifies the element as a MIM rectangular capacitor, capacitance and loss specified, microstrip substrate.

The entry SUBSTRATE=substrate_name identifies the microstrip substrate model name selected for the design (see Selecting a Microstrip Substrate). See the Microstrip (MS) Substrate for information on this substrate type.

 


MIM Rectangular Capacitor, C and Loss Specified Instance Parameters

Parameter

Description

Unit

Default

W1

Width of MS feeder line

Meter

1e-3

W2

Width of bottom plate

Meter

1e-3

L

Length of bottom plate

Meter

1e-3

C

Capacitance of MIM

Farad

1e-12

TAND

Loss tangent of the thin film

None

0.0


 

Netlist Example

A23 Port1 Port2 W1=0.5e-3 W2=0.5e-3 L=1.1e-3 C=1.8e-12 TAND=1.4 COMPONENT=msmimct SUBSTRATE=FR4

where FR4, the selected layout technology or substrate type, has a definition such as:

.SUB FR4 MS( H=7.6200e-004 Er=4.4 TAND=0.02 TANM=0
+ MSat=0 MRem=0 HU=0.00508 MET1=1.72413793103448
+ T1=1.7145e-005 RGH=0mil)




HFSS视频教学培训教程 ADS2011视频培训教程 CST微波工作室教程 Ansoft Designer 教程

                HFSS视频教程                                      ADS视频教程                               CST视频教程                           Ansoft Designer 中文教程


 

      Copyright © 2006 - 2013   微波EDA网, All Rights Reserved    业务联系:mweda@163.com